
(一)工程地质勘探的任务
工程地质勘探一般在工程地质测绘的基础上进行。它可以直接深入地下岩层取得所需的工程地质条件资料,是探明深部地质情况的可靠的方法。工程地质勘探的主要方式有工程地质钻探、坑探和物探,其主要任务为:
1、探明建筑场地的岩性及地质构造,即以及各地层的厚度、性质及其变化;划分地层并确定其接触关系;以及基岩的风化程度、划分风化带;研究岩层的产状、裂隙发育程度及其随深度的变化;研究褶皱、断裂、破碎带以及其他地质构造的空间分布和变化。
2、探明水文地质条件,即含水层、隔水层的分布、埋深、厚度、性质及地下水位。
3、探明地面及物理地质现象,包括河谷阶地、冲洪积扇、坡积层的位置和土层结构;溶岩的规模及发育程度;滑坡及泥石流的分布、范围、特性等。
4、提取岩土样及水样,提供野外试验条件。从钻孔或勘探点去岩土样或水样,提供室内试验、分析、鉴定之用。勘探所形成的坑孔可为现场原位试验提供场所和条件。
(二)工程地质勘探的方法
1、工程地质坑、槽探
坑、槽探是在建筑场地挖探井或探槽以取得直观资料和原状土样,这是一种不使用专用机具的常用勘探方法。当场地地质条件比较复杂时,利用坑探可以直接观测地层的结构和变化,但坑探可达的深度较浅。坑探的种类有探槽、探坑和探井。
在工程地质勘察中,常用的坑、槽探主要有坑、槽、井、洞等几种类型,见表1-1。
工程地质勘探中坑、槽、洞的类型 表1-1


探槽是在挖掘成长条形且两壁常为倾斜上宽下窄的槽子,其断面有梯形或阶梯型两种。较深的探槽两壁要进行必要的支护以策安全。探槽一般在覆盖土层小于3.0m时使用。它适用于了解地质构造线、断裂破碎带宽度、地层分界线、岩脉宽度及其延伸方向和采取原状土试样等。
凡挖掘深度不大且形状不一的坑,或成矩形的较短的探槽状的坑为探坑。探坑的深度一般为1.0~2.0m,与土层的目的相同。
探井一般深度都大于3.0m,其断面形状为方形、矩形和圆形。
圆形探井在水平方向能承受较大的侧压力,比其他形状的探井安全。
坑探中采取原状土样可按照以下步骤进行:首先在井底或井壁的指定深度处挖一土柱,土柱的直径必须大于土筒的直径,将土柱顶面削平,套上两端开口的金属筒并削去筒外多余的土,一面削土一面将筒压入,直到筒完全套入土柱体后切断土体柱。然后削去两端多余的土体,该上筒盖,用熔蜡密封后贴上标签并注明土柱的上下方向、编号等即完成取样工作。

2、钻探
(1)工程地质钻探的概念
工程地质钻探是获取地表下准确的地质资料的重要的方法,而且通过钻探的钻孔采取原状岩土样和做现场力学试验也是工程地质钻探的任务之一。
钻探是指在地表下用钻头钻入地层的勘探方法。在地层内钻成直径较小并具有相当深度的圆通形孔眼的孔称为钻孔。通常将直径大于等于800mm以上的钻孔称为大直径钻井。
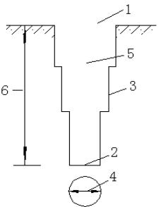
钻孔的要素如图所示。钻孔上部口径较大,下部口径较小,成阶梯状。钻孔的上部为孔口,底部为孔底;四周侧壁为孔壁。钻孔断面的直径为孔经;由大孔经改为小孔经称换经。从孔口到孔底的距离为孔深。

1-孔口;2-孔底;3-孔壁;4-孔经;5-换经;6-孔深
(2)钻探过程和钻进方法
根据自然条件的复杂性以及工程要求选择钻探设备和钻进方法。钻机一般分为回转式和冲击式两种。
回转式钻机是利用钻机的回转器带动钻具旋转,磨消孔底地层而钻进,通常使用管状钻具,能取柱状岩芯样品。
冲击式钻机则利用卷扬机借钢丝绳带动有一定重量的钻具上下反复冲击,使钻头击碎孔底地层而形成钻孔后用抽筒提取岩石碎块或扰动土样。针对不同的岩石及地层条件,可选取不同的钻进方式、钻机与钻具。

钻探过程中有三个基本程序:
破碎岩土:在工程地质钻探中广泛采用人力和机械方法,使小部分岩土脱离整体而成为粉末、岩土块或岩土芯的现象,叫做破碎岩土。岩土的破碎是借助于冲击力、剪切力、研磨和压力来实现的。
采取岩土:用冲洗液(或压缩空气)将破碎的碎屑冲到孔外,或者用钻具(抽筒、勺形钻头、螺旋钻头、取土器、岩芯管等)靠人力或机械将孔底的碎屑或样芯取出于地面。
保全孔壁:为了顺利地进行钻探工作,必须保护好孔壁,不使其坍塌。一般使用套管和泥浆来护壁。
工程地质钻探可根据岩土破碎的方式,将钻进的方法分为以下四种:
冲击钻进
冲击钻进法采用底部圆环状钻头。钻进时将钻具提升到一定高度,利用钻具自重,迅猛放落,钻具在下落时产生冲击动能,冲击孔底岩土层,使岩土层达到破碎之目的而加深钻孔。
回转钻进
回转钻进法采用底部嵌焊有硬质合金的圆环状钻头进行钻进。钻进中施加钻压,使钻头在回转中切入岩土层,达到加深钻孔的目的。在土质地层中钻进,有时为有效地完整地揭露标准地层,还可以采用勺形钻钻头进行钻进。
冲击-回转钻进
冲击-回转钻进综合了前两种钻进方法在地层钻进中的优点,以达到提高钻进效率的目的。其工作原理是:在钻进过程中,钻头克取岩石时,施加一定的动力,对岩石产生冲击作用,使岩石的破碎速度加快,破坏粒度比回转剪切粒度增大。同时由于冲击力的作用使硬质合金刻入岩石深度增加,在回转中将岩石剪切掉。这样就大大提高了钻进的效率。
冲击-回转-振动钻进
冲击-回转-振动钻进综合了前三种钻进方法在地层钻进中的优点,以达到提高钻进效率的目的。采用机械动力所产生的振动力,通过连接杆和钻具传到圆筒形钻头周围土中。由于震动器高速振动的结果,圆筒钻头依靠钻具和振动器的重量使得土层更容易被切削钻进,切钻进速度较快。

(3)钻孔地质柱状图
钻孔地质柱状图是表示该钻孔所穿过的地层而综合成图表表示。图中表示有地质年代、土层埋藏深度、土层厚度、土层底部的绝对标高、岩土的描述、柱状图、地面绝对标高、地下水水位和测量日期、岩土怎样选取位置等。柱状图的比例尺一般为1:100—1:500。

钻孔柱状图表
(4)土试样的采取
原状土样的概念
工程地质钻探的主要任务之一是在岩土层中采取岩芯或原状土试样。在采取试样过程中应该保持试样的天然结构,如果试样的天然结构已受到破坏,则此试样已受到扰动,这种试样称为“扰动样”,在工程地质勘察中是不容许的。除非有明确说明另有所用,否则次扰动试样作废。
由于土工试验所得出的土性指标要保证可靠,因此工程地质勘察中所取得的试样必须是保留天然结构的原状试样。原状试样有岩芯试样和土试样。岩芯试样由于其坚硬性,其天然结构难于破坏,而土试样则不同,它很不容易被扰动。因此,采取原状土试样是工程地质勘察中的一项重要技术。
但是在实际工程地质勘察的钻探过程中,要取得完全不扰动试样是不可能的。
造成土试样扰动有三个原因:
一是外界条件引起的土试样的扰动,如钻进工艺、钻具选用、钻压、钻速、取土方法选择等。若在选用上不够合理时,都能造成其土质的天然结构被破坏。
二是采样过程造成的土体中应力条件发生了改变,引起图样内的质点间的相对位置位移和组织结构的变化,甚至出现质点间的原由粘聚力的破坏。
三是采取土样时,需用取土器采取。但不论采用何种取土器,它都有一定的壁厚、长度和面积。当切如土层时,会使土样产生一定的压缩变形。壁愈厚所排开土体愈多,其变形量愈大,这就造成土样更大的扰动。
从上述可见,所谓原状土试样实际上都不可避免地遭到了不同程度的扰动。为此,在采取土试样过程中,应力求减小对试样的扰动,要尽力排除各种可能增大扰动量的因素。
按照取样方法和试验目的,岩土工程勘察规范对土试样的扰动程度分成如下的质量等级:
一级—不扰动,可进行试验项目有:土类定义、含水量、密度、强度系数、变形参数、固结压密系数。
二级—轻微扰动,可进行的试验项目有:土类定义、含水量、密度。
三级—显著扰动,可进行的试验项目有:土类定义、含水量。
四级—完全扰动,可进行的试验项目有:土类定义。
在钻孔取样时,采用薄壁取土器所采得的土样定为一~二级;
对于采用中厚壁或厚壁取土器所采得的土样定为二~三级;对于采用标准贯入器、螺纹钻头或岩芯钻头所采得的粘性土、粉土、砂土和软岩的试样皆定义为三~四级。
从上可见,为取得一级质量的土试样,普遍采用薄壁取土器来采取,以满足土工试验全部的物理力学参数的正确获得。
减少土试样扰动的注意事项
为保证土样少受扰动,采取土试样的前后及过程中应注意如下事项:
合理的钻进方法是保证取得不扰动土样的第一前提。
也就是说,钻进方法的选用首先应着眼于确保孔底拟取土样不被扰动。这一点几乎对任何种土样都适用,而对结构敏感或不稳定的土层尤为重要。从国内外的经验看,主要有以下几点要求:
1)在结构性敏感土层和较疏松砂土层中需采用回转钻进,而不得采用冲击钻进;
2)以泥浆护孔,可以减少扰动。并注意在孔中保持足够的静水压力,防止因孔内水位过低而导致孔底软粘性土或砂层产生松动或涌起;
3)取土钻孔的孔径要适当,取土器与孔壁之间要有一定的距离,避免下放取土器时切削孔壁,挤进过多的废土。尤其在软土钻孔中,时有缩径现象,则更需加大取土器与孔壁的间隙。钻孔应保持孔壁垂直,以避免取土器切刮孔壁;
4)取土前的一次钻进不宜过深,以免下部拟取土样部位的土层受扰动。并且在正式取土前,把已受一定程度扰动的孔底土柱清理掉,避废土过多,取土器顶部挤压土样;
5)取土深度和进土深度等尺寸,在取土前都应丈量准确。
取土过程中,如提升取土器、拆卸取土器等每个操作工序,均应细致稳妥,以免造成扰动。
取出的土应及时用蜡密封,并注明上下,贴上标签,作好记录;
另外(即除了钻探过程的问题外),在土样封存、运输和开工做试验时,都应注意避免扰动。严防振动、日晒、雨淋和冻结。