旋挖钻机履带的保养与维护

2020-01-15 909 0
核心提示:一、旋挖钻机履带介绍旋挖钻机履带底盘是由履带总成、托链轮、支重轮、驱动轮,引导轮、涨紧装置等组成。二、旋挖钻机履带的清洁

  一、旋挖钻机履带介绍

  旋挖钻机履带底盘是由履带总成、托链轮、支重轮、驱动轮,引导轮、涨紧装置等组成。


  二、旋挖钻机履带的清洁

  清扫钻机时,应同时清扫下部行走体上的污泥,作业结束后,作业人员在清扫驾驶室的同时也应对下部行走体上的污泥进行清扫,若下部行走体上附着有污泥,则无法进行其相关部件的检査。因此,请务必清除这些污泥,并对下部行走体进行检查和保养。

  三.旋挖钻机底盘的保养

  1.旋挖钻机在施工过程中应根据土质进行履带张紧度调整,以应对不同的施工工地土质的差异,这样做还能够延长机器的使用寿命。
  
  土质柔软时,履带及轨链节上容易附着泥土,所以履带要调得略松一些,以防止因泥土的附着而产生施加于轨链节上的异常应力。
  
  在遍布卵石的施工工地时,履带也要调得略松一些,这样,在行走于卵石上时,可避免履带板的弯曲。

  坚固而平坦的地面时,最好把履带调得略紧一些。履带张紧度的调整:若履带张得过紧,会出现行走速度及行走动力下降的现象。这样不仅会导致作业效率的下降,而且由于销和衬套上被施加了过大摩擦力而引起异常磨损。

  相反,若履带调得过松,履带松弛地搭在驱动轮和托链轮上,造成的磨损或损伤更大。而且,当松动的履带下垂过大时,可能出现与机架接触并损伤机架的现象。这样,即使是加强了的下部行走体,若不进行正确的调整,也会导致意外故障的发生。


  2.托链轮、支重轮、驱动轮及轨链节等这些都是易磨损的部件。是否实施日常检査,可以很大程度上决定这些部件的保养状况。所以,只要稍微花费一点时间进行适当的保养,就能够很好地控制其磨损度。

  若在部分托链轮和支重轮无法运转的状态下继续使用,则可能导致滚轮磨偏,同时还可能造成轨链节的磨损。若发现了无法运转的滚轮时,必须立即进行修理才可以避免造成其他故障。

  履带夹轨器也是最容易导致链轨磨损的重要原因,夹轨器出现问题后要直接更换原厂配件,不能随意焊接导致链轨运转偏移会压损支重轮外壳。

  另一方面长时间地反复在倾斜地面上行走并突然转向,会使轨链节侧面与驱动轮及引导轮的侧面相接触,从而加大磨损程度。因此,应尽可能避免在倾斜地带行走和突然转向,否则会导致履带链轨磨损严重,支重轮壳体损坏等情况。


  3、应仔细检査螺栓和螺母:机器长时间工作时,会由于机器的振动而导致螺栓和螺母松动。特别是下部行走体上的螺栓和螺母很容易受到影响。

  若在履带板螺栓松动的情况下继续运转机器,会使螺栓和履带板之间产生间隙,进而导致履带板螺栓的断裂和履带损害。而且,间隙的产生还可能加大履带与轨链节间的螺栓孔,导致无法紧固而必须更换履带和轨链节的严重后果。

  另外定期检查支重轮螺栓情况,避免支重轮螺栓断裂导致支重轮损坏。因此,应定期对螺栓和螺母进行检査并实施紧固,以减少不必要的费用。

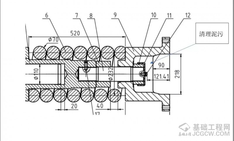
  4、涨紧装置的保养


  检查涨紧裝置后部锁紧螺栓部位是否有泥污,及时清理,否则会导致锁紧螺母无法回位,导致履带不能涨紧。

  在此,小编提醒机手以及维修保养人员要多注意旋挖钻机履带底盘的情况,比如螺栓是否松动?托链轮和支重轮是否无法转动?托链轮、支重轮和引导轮是否漏油?如忽视上述异常状态,最终会引发严重事故。若因螺栓折损而使相关部件破损及托链轮或支重轮磨偏,将大大增加维修费用。 

  • 点赞(0
  • 反对(0
  • 举报(0
  • 收藏(0
  • 分享(20
评论(0)

登录后发表评论~