采用锚杆静压桩加固从化某桥基础的设计探讨

2015-08-05 231 0
核心提示:针对从化某桥基础加固的工程特点,分析各种处理方法的优缺点,并结合工程实际,分析了锚杆静压桩加固基础的设计要点及优势,最后展望锚杆静压桩在桥梁加固中的推广应用并提出改进方法。

  一、工程概况
 
  从化某桥位于从化市河东北路与105国道交界处,该桥分新旧两幅桥,旧桥上部结构为混凝土简支肋板梁,新桥上部结构为混凝土简支T梁,新旧桥跨径布置均为6×16m,全长100m。旧桥位于上游,新桥位于下游。
 
  
 
 
  图1:原基础被严重冲刷
 
  该桥旧桥下部结构为双柱式桥墩,基础为扩大基础,原基础底采用松木桩地基处理。在长期使用后,该桥位处河床冲刷现象严重,部分桥墩周边河床标高甚至已低于桥墩基础底面,并出现一定的贯通现象。其中旧桥2号墩冲刷最为严重,其基础底面与河床几乎完全脱空,基础底面可穿透对视,桥墩仅依靠松木桩承担上部结构的重量;小海旧桥的3、4号墩也有类似现象,但对比2号墩状况稍好。基础冲刷情况见图1。旧桥基础被冲刷的严重情况是在对该桥的新桥基础进行围堰加固施工时,围堰并抽水后发现的。
 
  二、各种方法优缺点对比及方法选取
 
  该桥位于交通要道,经常有重车经过,因此旧桥基础的情况相当危急,需尽快处理。
 
  针对小海桥的问题及情况,可以考虑采用的几种处理办法:
 
  (一)拆除重做
 
  拆除原有旧桥(桥宽约为8m,每跨16m,共6跨)。在旧桥原位新建16米钢筋混凝土桥。
 
  拆除方案投资较大,整个工程周期较长;施工期间因一幅旧桥拆除,另一幅桥需部分封闭,整桥只有原来不足一半的通行能力,对市民出行造成较大不便,需长时间进行交通分流,影响沿线交通;原有桥梁的价值不能充分利用,也不能最大限度的利用已有施工围堰,造成浪费;工期较长,必然需要横跨汛期,汛期的施工安全及工期保障较难。
 
  优点:新建桥梁可以完全解决基础问题,同时可以按照新的荷载标准进行建设,满足越来越高的通行要求。但整桥的通行标准仍然受制于另外一幅桥的承载能力。
 
  (二)加固处理
 
  对原有基础进行加固,解决基础的冲刷及承载力问题,保留原有结构。加固处理可以避免拆除重建,减少投资,且施工工期较新建桥梁短很多,对周边居民生活及沿线交通影响小,充分发挥了原有结构的经济效益和社会效益。对桥梁基础进行加固有很多种方法,实际运用应根据具体的工程实际条件斟酌使用,以达到最好的效果、最高的效益,确保行车安全,延长桥梁的使用寿命。
 
  针对该桥基础情况,可以有以下几种加固措施:
 
  1.灌注桩:优点①造价较低,工艺成熟;②适用于不同土层,按持力层深浅可改变桩长,冲击成孔工艺可以穿透硬地层,甚至作为持力层的微风化基岩;③施工噪声较小;④单桩承载力高。
 
  缺点:①成桩质量较难控制:灌注桩施工工艺比打入(压入)桩复杂,容易出现断桩、缩颈、混凝土离析和孔底虚土或沉渣过厚等质量问题;②干作业灌注桩,孔底虚土和泥浆护壁孔底沉渣较难清理干净,目前又没有量测沈渣厚度的可靠方法,施工过程不易控制,沉渣将影响端承力的发挥,降低桩承载能力;③同一工地的桩,承载力变异性较大,设计人员不易掌握,同时也导致抽检费用较高;④成孔速度慢,工期长;⑤泥浆护壁成孔工艺,当采用泥浆池循环法施工,占用场地大,且脏乱,对周围污染较大(特别是从化是一个重要的水源区);⑥对周边土体摇动较大;⑦净空要求较高。
 
  2.锚杆静压桩:优点①锚杆静压桩具有:施工净高、操作范围要求低;②施工时对周边土体及基础扰动小;③器械要求简单,工艺较简单;④施工工期短,成本低;⑤采用预制桩,桩身质量有保证;⑥承载能力明确可靠,方便设计掌握。
 
  缺点:①受一定地质条件限制,如淤泥层太厚,有软弱夹层,孤石较多导致不能压进等地质条件不建议使用;②与灌注桩相比,单桩承载力稍低;③一般来说静压桩施工完成后,只有新增荷载才由静压桩承受(未采用特殊处理的灌注桩同样有此问题)。
 
  3.木桩:木桩具有施工速度快、工艺简单、造价低、工期短等优点,但其承载能力较难掌握,受地质条件限制较大,砂卵石层基本很难打入,河道冲刷对其影响较大,基本没有抵抗冲刷的能力。
 
  4.钢管桩:施工方便,承载力较大,施工净高要求较高,总投入较大。
 
  5.其他地基处理方法:可以采用旋喷桩、搅拌桩、土体处理等方式改善地基的承载能力,同时就能提高基础的承载能力,适合于地基承载力不足需要加固的情况。但对于原扩大基础受冲刷影响的情况不合适。
 
  该桥旧桥上部结构总体状况良好,且整桥承载能力及通行能力也满足现有的通行要求,因此从经济效益和社会效益各方面分析,对旧桥基础采取加固处理更加合理。该桥旧桥基础底面已外露,底面标高比河床标高要高,加固措施应尽量避免对基础土体的扰动,以免引起基础的不均匀沉降;同时由于从化是重要的水源地,加固方法应尽量减少对河流的污染;旧桥承台到梁底净高小于4.5米,加固方法应考虑净高影响;桥位处河床冲刷较严重,新的基础应具有抵御河水长期冲刷的能力。根据上述对各种加固方法的优缺点分析及结合该桥的实际情况可知,锚杆静压桩是最适合本工程的加固方法。
 
  三、设计关键
 
  (一)基础底部处理:旧桥基础的病害是在新桥加固围堰施工抽水后发现的,经现场情况踏勘后,当即要求施工单位先将围堰回水,保证基础下松木桩不至于外露于空气中而加速老化,待加固设计完成后再进行下一步施工。鉴于小海桥旧桥基础底部局部或大部分淘空的情况,要求施工时先对基础淘空位置挖除淤泥,并用高压水枪进行清理,再在原基础周边立模,使用高压灌注混凝土并充分振捣密实,以填补原基础底部的空隙及对原松木桩形成保护,尽量恢复原基础的承载能力。
 
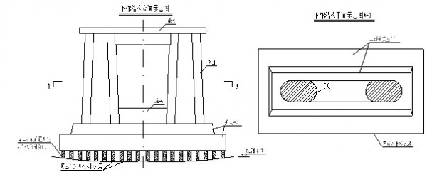
  (二)在原墩身新增承台:要使后加的桩与原基础共同受力承担上部荷载,必须在原墩身新增部分承台与加桩固结。根据工程的实际,决定锚杆静压桩承担的荷载大小,从而确定桩的数量及布置,再而设计增大承台的尺寸及钢筋布置。一般来说,增大承台都需要在原墩身植筋以保证新旧混凝土之间的连接与力的传递。因该桥旧桥墩身以下为扩大基础,混凝土质量不理想,所以将增大承台设置在原墩身下部;在原墩身的新增承台顶、底面位置植入受力筋,其中底部主受力钢筋采用对穿植筋,上部主受力钢筋采用单端植筋,同时在原墩身表面布置短钢筋的植筋以加强新旧结合面的抗剪能力。钢筋断面布置见图2。
 
  (三)压桩:一般地,在非触变性土中,压桩力可取为单桩承载力的2倍,在触变性土中(黄土或填土等)取1.5倍。本桥基础加固设计考虑到原基础承载力状况承载力不明,考虑后期锚杆静压桩可承受全部荷载,一个承台两侧分别布置10根桩,共20根25×25cm锚杆静压桩。单桩竖向抗压承载力特征值300kN;终压值为600KN。
 
  (四)其他措施:待压桩完成后,基础周边进行混凝土浇筑,以保护静压桩及基础不至于直接受流水冲击,并在基础周边堆叠大体积的毛石以提高基础的防冲刷能力。
 
  
 
  图2:承台钢筋布置图
 
  四、总结
 
  现该桥已完成基础加固施工并投入使用一段时间,至今运行状况良好。通过该桥基础加固的实例可以看到,锚杆静压桩对已有基础的加固在很多方面都有突出的优点:如对周边环境影响少(没有灌注桩的泥浆),对原基础土体扰动少,施工机具要求低、工艺简单,工期短,成本低,施工净空要求低,桩身质量容易保证及桩承载力明确等等。
 
  锚杆静压桩在房建基础加固中已经应用较多,而在桥梁基础加固中它还是比较新的方法。鉴于锚杆静压桩的众多优点,它在桥梁基础加固中是很值得推广应用的。同时,在以后的推广应用中,可以进一步研究采用稳压封桩工艺,以解决后加桩基础只承受新增荷载的受力滞后问题,使桩基础提前参与受力。
 
  参考文献
 
  [1]锚杆静压桩技术规程YBJ227-1991.
 
  [2]公路桥梁加固设计规范(JTG/TJ22-2008),[M],北京:人民交通出版社,2008.
 
  [3]公路钢筋混凝土及预应力混凝土桥涵设计规范(JTGD62-2004)[M],北京:人民交通出版社,2004.
 
  [4]公路桥涵地基与基础设计规范(JTGD63-2007)[M],北京:人民交通出版社,2007.

  • 点赞(0
  • 反对(0
  • 举报(0
  • 收藏(0
  • 分享(12
评论(0)

登录后发表评论~