锚杆桩在补桩处理中的应用

2015-08-05 389 0
核心提示:  摘要:通过某工程灌注桩发生的缺桩补桩处理实践,从地下障碍物、施工环境等方面对缺桩基产生的原因进行分析,并介绍采用锚杆

   摘要:通过某工程灌注桩发生的缺桩补桩处理实践,从地下障碍物、施工环境等方面对缺桩基产生的原因进行分析,并介绍采用锚杆桩补桩处理技术。

 
  关键词:灌注桩漏桩,深层断桩,III类基桩,锚杆桩
 
  随着工程建设的发展,无论是灌注桩还是预制管桩在理论上、施工工艺上均日臻完善,并得到了广泛的应用,III类缺陷桩产生的频率正在逐渐减少。由于受到工程地质和水文地质条件、施工技术和施工组织等因素及地下障碍物等原因的影响,工程建设中缺陷桩仍时有发生,尤其是III类桩桩身有明显缺陷,对桩身结构承载力有影响,不能满足结构使用安全和耐久性的要求,尽管III类桩常采用压浆补强、管桩接桩、增大承台等方案处理,但遇到深层断桩或缺桩的情况,仍需要采取其他处理方法,因此很值得探讨。
 
  1工程概况
 
  1.1工程设计概况
 
  武汉某大型群体工程总建筑面积约51万平方米,含11栋塔楼和5层裙房,地上26~33层,地下室2层。该工程塔楼采用φ800钻孔灌注桩基础,设计有效桩长33.6~36.1m,Ra=4300KN,选用强风化泥质粉砂岩、粉砂质泥岩作为持力层,要求桩端进入持力层不少于0.8m。
 
  本工程所在场地地下有大量原有建筑钢筋混凝土老基础,且开挖深度范围内土层大部分为淤泥质软土,给工程桩施工带来较大的困难。
 
  1.2缺桩情况
 
  该工程某栋塔楼在土方开挖清底后,发现2-2轴/2-F轴ZCT7承台的其中一根灌注桩(AG3-121)桩位及其附近,未见到桩顶及桩身钢筋,判定为缺失。
 
  该桩附近地质情况是:地面以下至4m范围内为杂填土、流塑状的淤泥和粘土,4m以下为6~17m厚的软塑或流塑状的淤泥质粉质粘土,再往下为粉质粘土混粉土,粉土夹粉砂、粉细砂、中粗砂混卵砾石以及强风化泥质粉砂岩、粉砂质泥岩等。
 
  2缺桩产生原因分析
 
  2.1地下障碍物影响
 
  该桩附近场地原为3至5层的厂房及居民楼,采用预制方桩和灌注桩基础。施工过程中,多次因地下障碍物原因,造成设计桩位必须进行偏移和重新钻孔或灌注作业。可能因此引起桩位需报设计偏移,而后因钻机转移疏忽导致缺桩。
 
  2.2恶劣天气影响
 
  桩基混凝土浇筑过程中,曾遇到暴雨影响,施工便道由于坡度起伏,雨天路滑,造成混凝土运输困难,无法保证下料的连续性,进而导致深层断桩。
 
  3缺桩处理方案
 
  3.1初选处理方案
 
  根据以往工程经验,并结合缺桩附近的周围环境,初步选定的处理方案有:重新补桩、增大承台、锚杆桩补桩等,通过可行性分析和经济技术对比最终确定处理方案。
 
  3.2处理方案比选
 
  3种处理方案比选见表所示。
 
  表3种处理方案比选表
 
  
 
  3.3处理方案选定及可行性分析
 
  通过上述处理方案比选,由于锚杆桩主要为在底板施工完,特别是主体上到一定阶段后进行施工,故工人有良好的作业环境,对工期也不会造成影响,最后业主、设计、监理和施工单位共同研究决定采用锚杆桩补桩方案。
 
  4方案实施
 
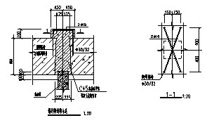
  本工程共设补强锚杆静压桩10根,锚杆静压桩的单桩竖向承载力特征值Ra=450KN(截面300300)。压桩力为900KN。桩端以(4-2)层粉细砂层为持力层,桩端进入持力层深度>1.5m。锚杆静压桩预留孔14个,考虑到防止因如遇到地障而需重新打桩,故其中有4个作为备用孔。
 
  锚杆桩施工时采用油压值和桩长双向控制,以油压值为主。
 
  预制锚杆静压桩,桩身采用C30混凝土,采用焊接钢接头,桩段长2.0m。锚杆采用8.8级高强度螺栓,锚固入承台内长度不小于40d,在基础底板施工时由锚杆桩施工单位配合埋设,每桩4个,采用Φ30/32锚杆。锚杆锚入承台的长度为1280mm(锚杆与中部钢筋网固定)。锚杆露出承台顶面长度不小于120mm。
 
  本工程施工条件为:联合承台施工完毕且混凝土达到设计强度后,方可进行锚杆静压桩施工。
 
  锚杆静压桩压完后,封桩前应凿毛和刷洗干净桩顶侧表面后再涂混凝土界面剂,焊接锚杆交叉钢筋,并清除压桩孔内杂物、积水及浮浆,压桩孔内采用C45微膨胀早强混凝土浇捣密实(含未用的备用孔)。压桩孔顶支模同时浇筑100高桩帽混凝土。
 
 
 
  图1锚杆桩补桩大样图
 
  
 
  图2锚杆桩补桩承台关系图
 
  5结语
 
  III类基桩或缺桩处理方法的选择要综合考虑结构安全可靠度、施工进度要求、成本控制、桩身缺陷情况、工程水文地质条件、施工条件和施工难度等多方面因素。该项目综合考虑上述因素选用锚杆静压桩补桩方法,确保工程进度,控制施工质量,得到业主及监理各方认可。

  • 点赞(0
  • 反对(0
  • 举报(0
  • 收藏(0
  • 分享(12
评论(0)

登录后发表评论~