深基坑降水回灌结合技术

2015-07-20 288 0
核心提示:在当前深基坑施工中,一般往往只编制降水方案,但施工中常常发生因降水过度而造成周围建筑物沉降、开裂或倾斜现象。本文着重介绍了一种全新的降水与回灌同时进行的工艺,对降水和回灌进行相应设计,并运用到工程实践中,收到了很好的效果,为今后类似工程提供借鉴。

   一、前言

 
  在建筑物密集的场地上进行深基坑施工时,仅仅考虑基坑降水问题是不够的,还要考虑到因过度降水而引起周围原有建筑物地基的不均匀沉降和位移问题,这些不均匀沉降和位移会导致原有建筑物产生沉降、开裂或倾斜。另外,若大量抽起的地下水不加以回灌,会造成水资源的大量浪费。因此,将抽出的地下水重新回灌利用,是降水施工的必然趋势。
 
  当前,在深基坑施工中,一般只注重降水,很少注重地下水回灌问题,我国在这方面的研究还不成熟,国家和地方没形成任何规范,也很难查到相关资料,学者们对地下水的抽取和补给机理也存在不同认识。本文结合安溪金龙.现代广场工程实例,着重介绍深基坑降水和回灌相关设计与施工注意事项,抛砖引玉,为今后类似工程提供借鉴。
 
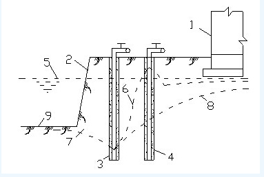
  二、降灌工艺原理
 
  井点回灌是在井点降水的同时,将抽出的地下水通过回灌井点再灌入地基土层内,水从井点周围土层渗透,在土层中形成一个和降水井点相反的倒转降落漏斗,使降水井点的影响半径不超过回灌井点的范围。这样,回灌井点就以一道隔水帷幕,阻止回灌井点外侧的建筑物下的地下水流失,使地下水位基本保持不变,土层压力仍处于原始平衡状态,从而有效地防止降水井点对周围建筑物的影响。工艺原理如下图:
 
 
 
  三、降水井设计
 
  (一)设计资料
 
  金龙.现代广场位于福建安溪县城内河滨北路西侧。地下室基坑北侧距民房仅15米,基坑面积5420.8m2,基坑开挖深度一般为5.30m。地层自上而下主要土层有:(1)、杂填土:平均厚度3.55m;(2)、填砂:平均厚度2.25m;(3)素填土:平均厚度2.6m;(4)、中砂、卵石混砂:平均厚度9.35m;(5)、残积砂质粘性土:平均厚度4.60m。其它地层与计算无关,忽略。
 
  本工程地下水主要为潜水,赋存和运移于中砂、卵石混砂孔隙中,地下水稳定水位为4.5m左右。中砂、卵石混砂中的地下水渗透系数为3.8×10-2cm/s,而残积砂质粘性土的渗透系数为5.0×10-5cm/s。
 
  现拟在基坑北侧临近民房建筑物附近施打回灌井,在基坑开挖及降水的同时进行地下水回灌,以控制民房附近地下水位不至于变化过大。
 
  (二)、基坑涌水量Q计算
 
  根据地勘报告,基坑涌水量可按照均质含水层潜水完整井考虑,基坑离大龙湖最近处约35米,而降水影响半径R=54.229m,基坑中心到河水边距离b=76.54>0.5R=27.114m;因此,基坑涌水量按基坑远离边界计算。
 
  (1)基坑等效半径r0=(A/π)0.5=(5420.8/3.1415926)0.5=41.54m;
 
  (2)基坑水位降深S=5.3–4.5+0.5=1.3m
 
  (3)承压含水层厚度H:H=3.55+2.25+2.6+9.35-4.5=13.25m
 
  (4)降水影响半径:R=2×S×(k×H)0.5=54.229m
 
  (5)k为渗透系数,k=3.8×10-2㎝/s=32.832m/d
 
  按照《建筑基坑支护技术规程》JGJ120-99中F.0.1-1公式计算如下:Q=1.366×k×(2H-S)×S/lg(1+R/r0)=4050.181m3/d
 
  (三)、单个管井出水量q:
 
  1、按《建筑基坑支护技术规程》JGJ120-99中8.3.4公式计算:
 
  q=120×π×rs×L×(k)1/3=1646.924m3/d
 
  其中:rs——过滤器半径,本处取0.175m;
 
  L——过滤器进水部分长度L,L=13.25-1.3-41.54×i=7.796m,其中i为水力坡度,i=0.1;
 
  k为渗透系数,k=32.832m/d
 
  2、按《建筑与市政降水工程技术规范》JGJ/T111-98中6.4.5-1计算:
 
  q=L’×d×24/α’=1309.728m3/d
 
  其中:L’——过滤器进水部分长度L=13.25-1.3-41.54×i=7.796m,其中i为水力坡度,i=0.1;
 
  d——过滤器外径(㎜),d=350㎜;
 
  α’——与含水层渗透系数有关的经验系数,查表α’=50
 
  3、按潜水完整井单井出水量计算(无干扰)
 
  q=π×k×(h02-hw2)/ln(R/rw)=2064m3/d
 
  其中:h0——未抽水时井水位到含水层底部的距离,h0=13.25m;
 
  hw——抽水时井内水位到含水层底部的距离,hw=7.796m;
 
  k——渗透系数,k=32.832m/d;
 
  R——降水影响半径:R=2×S×(k×H)0.5=54.229m
 
  rw——降水井半径,rw=0.175m
 
  4、群井抽水影响系数η的确定方法:
 
  三口群井排成一排,间距S取nR(R为抽水影响半径,n=S/R),中间的那口井的出水量非常接近群井抽水时的单井出水量,因此以此作为群井抽水时的单井出水量理论值。
 
  在仅有1#、3#井抽水图中,阴影部分水体的面积为:
 
  S1=0.5×nR×0.5nSw=(1/4)×n2×R×Sw;(1)
 
  等效成梯形后的高度设为hx,该梯形的面积为:
 
  S2=0.5×(nR+nR+2Rhx/Sw)×hx(2)
 
  因为S1=S2,联解(1)、(2)可得:
 
  hx=n×Sw×[(2)0.5-1]/2=0.2071nSw
 
  而Sw=h0-hw。故
 
  h2=0.7071×nh0+(1-0.7071n)hw
 
  依据裘布依公式:影响系数η=Q群/Q单=(h22-hw2)/(h02-hw2),代入h2,并设hw=mh0,代入得:
 
  η={[(0.7071×n)+(1-0.7071×n)m]2–m2}/(1–m2)
 
  其中:n——井的间距S与降水影响半径之比;
 
  m——hw/h0
 
  h0——未抽水时井水位到含水层底部的距离(m);
 
  hw——抽水时井内水位到含水层底部的距离(m
 
  
 
 
  
 
  可见,群井抽水影响系数η与n、h0、hw关系密切,它不是一个固定值,但可以肯定的是它小于1。如本例中:h0=13.25m,hw=7.796m,并假如n=0.5,时,η=0.2944。对降水影响半径R≥50m的,井的间距一般不会大于0.5R。这样就基本确定了影响系数的上限,大大提高了群井抽水时平均单井出水量计算精度,再结合施工经验,即可确定η值。故本工程中,η<0.2944。再参考R的大小和施工经验,取η=0.21。
 
  (四)、理论降水井数量n:
 
  按《建筑基坑支护技术规程》JGJ120-99中8.3.3,
 
  n=1.1×Q/q=1.1×4050.181/(0.21×2064)=10.28,取n=11
 
  (五)、降水井间距s
 
  因为基坑被等效为圆形,故s=πD/n=3.1415926×41.54×2/11=23.73m。但按照《施工手册》,深度在8m内的基坑,井距一般为10~15m,故取s=15m。
 
  四、回灌井设计
 
  (一)、回灌井深度
 
  为增加回灌井的渗透能力,最好让回灌井完全穿越渗透系数大的含水层即中砂、卵石混砂,而其下一层残积砂质粘性土渗透系数仅为5.0×10-5㎝/s,完全可看作不透水层。这样降水井深度可按照各地层的平均厚度来计算。本案例中Hw=3.55+2.25+2.6+9.35=17.75m,取18m。
 
  (二)、单口降水井实测流量
 
  现场打了5口降水试验井,对5口试验井流量进行了测定得出单口降水井平均流量Q=0.5×0.23×0.74/5=0.017m3/s,以此数据代表现场每口井理论出水量。故基坑北侧临近民房建筑物附近的四口降水井总出水量:
 
  Q1=4×0.017×86400=5875.2m3/d
 
  (三)、单口回灌井设计流量Q’计算
 
  地下水回灌过程可以看作是抽水的逆过程,只不过用灌水试验得出的渗透系数要比抽水试验得出的渗透系数小15~20%。根据裘布依公式计算如下:
 
  Q’=K’×(hw2–H02)/[0.733×lg(r0/rw)=572.367m3/d
 
  其中:K’——回灌渗透系数,K’=0.8×32.832=26.266m/d
 
  hw——回灌水丘顶部到含水层底部的距离,按高出正常地下水位1.2m,hw=17.75-4.5+1.2=14.45m
 
  H0—未回灌时井水到含水层底部距离,H0=17.75-4.5=13.25m
 
  r0——影响半径,r0=54.229m
 
  rw——回灌井半径,rw=0.45m
 
  (四)、回灌井数量n:
 
  n=Q1/Q’=5875.2/572.367=10.265,取n=11,故相邻两回灌井间距
 
  s=45/(11-1)=4.5m
 
  五、降灌井点施工工艺
 
  (一)降、灌井点布置和施工
 
  1、降水井布井时,基坑周边多布,中间少布;在地下补给的方向多布,另一方向少布。并应根据地质报告,使井的滤水器部分能处在较厚的砂层及砂卵层中,以免影响井的出水能力。
 
  2、钻探施工达到设计深度后,根据洗井搁置时间的长短,宜多钻进2—3m,避免因洗井不及时泥浆沉淀过厚,增加洗井的难度。洗井不应搁置时间过长或完成钻探后集中洗井。
 
  3、降水深井在成孔后井管沉放前,应用压缩空气和潜水泵联合洗井,反复2~3次,然后迅速下放滤水井管,并在周围填上级配碎石。
 
  4、回灌井点的滤管部分宜从设计回灌水丘顶部开始一直到井管底部。滤管上钻孔φ8@200,呈梅花型布置,滤管外缠密目网三层,用扎丝绑牢固。
 
  5、回灌井点在使用前应进行冲洗工作,冲洗方法是:通过滤管往回灌井内大量的注水至满后,迅速用深井泵抽出,反复2~3次。
 
  6、为使注水形成一个有效的补给水幕,避免注水直接回到降水井点管,造成“两井”相通,两者间应保持不小于6.0m的距离。
 
  (二)抽水、回灌
 
  1、水泵选择应与井的出水能力相匹配,水泵小时达不到降深要求;水泵大时,抽水不能连续。一般可以准备大中小几种水泵,在现场实际调配。
 
  2、降水、回灌期间应对抽水设备和运行状况进行检查,每天检查不应少于3次,使抽水设备始终处在正常运行状态。同时应有一定量的备用设备。
 
  3、回灌注水压力应大于0.5个大气压以上,为满足注水压力的要求,现场一般应设置高位水箱,利用水位差重力自流灌入土中。
 
  4、回灌水尽量采用抽出的原水,但必须经常检查灌入水的污浊度及水质情况,防止机油、有毒有害物质、化学药剂、垃圾等进入回灌水中。
 
  5、回灌井点必须与降水井点同时使用,当其中有一方因故停止工作时,另一方应停止工作,恢复工作亦应同时进行。
 
  (三)定期监测水位、流量
 
  在整个降水、回灌过程中,要对降水井、回灌井、观测井水位及流量进行观测,每昼夜不少于6次。在每口井边设置稳固的标高,并用水准仪在各标杆上测一等高的水平线,每次从该水平线向下量测,并记下数据。
 
  监测内容:1、降水前降水井内的水位;2、降水稳定时井内最低水位;3、单井抽水流量;4、各观测井降、灌前后的水位变化;5、回灌前回灌井内的水位;6、各回灌井的回灌流量;7、回灌井内水丘最高水位。
 
  (四)回灌量的调整
 
  回灌水量应根据地下水位的变化及时调整,尽可能保证抽灌平衡,既要防止灌水量过大而渗入基坑,又要防止灌水量过少,使地下水位失控。
 
  回灌量调整根据上述监测结果进行,当各观测井降、灌前后水位差超过1.0m时,应通过阀门调整回灌量,控制回灌量的方法有两种:
 
  (1)调整回灌水丘高度控制回灌量:通过上面的设计可知,只要控制回灌井内水丘稳定时的最高水位与未降、灌前观测井内的正常地下水位差在设计值时,就可以控制回灌量,满足降灌平衡。并用流量计记下此时的流量,与设计的理论回灌量进行对比。
 
  (2)通过建筑物附近的水位观察井控制回灌量:在原来建(构)筑物附近设置若干水位观测井,固定专人定时观测地下水位并做好记录,使原有建筑物下的地下水位在抽灌前后要基本保持不变,从而达到控制沉降的目的。否则就要通过阀门进行控制,并记录流量。
 
  这两种途径以第二种控制为主,第一种辅助控制。
 
  (五)基坑及周围建筑物监测
 
  1、应委托具有相应岩土工程监测资质的单位,进行基坑及周围建筑物稳定性监测,并且在基坑工程开工之前根据设计及有关规范,编写出基坑监测专项方案。
 
  2、监测主要内容为:原有建构筑物沉降;坑顶水平位移和垂直沉降;支护结构变形。监测时间从基坑土方开挖开始至地下室回填完成。
 
  3、监测频率:(1)基坑开挖过程中:一般1~3d测一次;(2)降、灌水前后水位差过大、或雨后测试数据变化大及开挖后期,应加密监测;(3)地下室封底及底板完成后,可延长监测时间间距。
 
  参考文献:
 
  1、《建筑基坑支护技术规程》——JGJ120-99
 
  2、《建筑与市政降水工程技术规范》——JGJ/T111-98
 
  3、《建筑施工手册》
 
  4、《地基与基础》第二版——建筑工业出版社,顾晓鲁等

  • 点赞(0
  • 反对(0
  • 举报(0
  • 收藏(0
  • 分享(9
评论(0)

登录后发表评论~