地下工程逆作法施工中节点设计与施工
2014-12-25
312
0
核心提示:摘 要:本文中列举的应用于高层建筑深基础逆作法施工中的节点是在工程实践中不断发展完善的,目的是为了建立逆作法施工中各种受
摘 要:本文中列举的应用于高层建筑深基础逆作法施工中的节点是在工程实践中不断发展完善的,目的是为了建立逆作法施工中各种受力结构间的合理连接,既要满足节点受力,又要与目前“逆作法”施工工艺相配套。有很好学习价值。
关键词:地下工程;逆作法;设计;施工
本文中列举的应用于高层建筑深基础逆作法施工中的节点是在工程实践中不断发展完善的,目的是为了建立逆作法施工中各种受力结构间的合理连接,既要满足节点受力,又要与目前“逆作法”施工工艺相配套。有很好学习价值。
1 逆作法施工中的节点设计和施工要求
逆作法施工的结构节点设计,需要满足下列要求:
(1)要求既满足结构永久受荷状态下的设计要求,又要满足施工状态下的受荷要求。即节点设计既要符合结构设计规范的要求,又要满足施工工况受荷条件下的受力要求。
(2)节点形式和构造必须在工艺上满足现有的工艺手段与施工能力。即设计的节点是可行的、可操作的,在满足受力前提下愈简单愈好。
(3)节点构造必须满足抗渗防水要求,不要因为节点施工降低了抗渗,造成永久性的渗漏。
(4)不要影响建筑物的使用功能,如不能占用过大空间等。
2 支撑柱与梁板节点设计与施工
在逆作施工中,中间支撑柱与梁板节点的设计与施工,主要是解决梁钢筋如何穿过中间支撑柱或与中间支撑柱连接,保证在复合柱完成后,节点质量和内力分布与设计计算简图一致。该节点的设计和施工主要取决于中间支撑柱的结构形式。
当中间支撑柱采用钢格构柱形式时,中间支撑柱与梁钢筋的连接方法主要有:在中间支撑柱型钢上钻孔以穿过梁钢筋的钻孔钢筋连接法和在中间支撑柱的型钢翼缘处焊接传力钢板以焊接连接梁板受力钢筋的传力钢板法。前者节点简单、柱梁接头混凝土浇筑质量好但是在型钢上钻孔削弱了截面,使承载力降低。后者可以解决钻孔过多导致梁钢筋无法定位穿越的问题,但材料消耗大,施工工艺复杂,传力钢板下面的焊缝施焊困难,钢板下面混凝土的浇筑质量难以保证。
当中间支撑柱采用钢管混凝土柱时,前述两种方法也可以采用,多以后者为主。采用后者时形式很多,常用的有钢牛腿和接驳器两种形式。前者是在钢管表面焊接钢牛腿,通过钢牛腿连接钢筋与钢管,达到传递弯距与剪力的目的。后者则是在钢管表面焊接环型钢板,传递结构剪力。钢筋连接接驳器直接与钢管焊接,传递结构弯矩。
目前这二种方法在实际逆作法施工中存在很大的缺陷。一是现场焊接,焊缝高,焊接融化会对钢管柱受力产生影响。二是地下室配筋量大,采用的钢牛腿或接驳器量大,现场焊接条件又较差,会影响工程工期、质量与成本。三是大量焊接废气的产生会影响作业环境。所以针对钢管混凝土中间支撑柱与梁的连接节点,通过双梁节点的设计使节点处理工厂化,达到简化梁板结构与钢管砼柱连接节点的目的,从而产生一种新型单柱双梁钢管混凝土组合结构节点。
由由国际广场工程占地面积三万余平方米,地下两层,挖深最深达17m左右,基坑平面呈不规则的多边形。工程采用裙楼逆作、主楼顺作的半逆作法进行施工,围护体系为钻孔灌注桩挡土结合深层搅拌桩止水的复合围护形式,逆作施工时的竖向荷载由一柱一桩形式布置的450×450mm钢格构立柱承担。其中间支撑格构柱与框架梁的相交节点处理采用钻孔钢筋连接法,见图1。

图1 由由国际广场中间支撑住与梁的相交节点图
由于逆作施工水平结构梁板时,框架梁的钢筋将穿越工程中处于未来框架柱位置的钢格构立柱。同时,由于逆作法利用水平梁板代支撑的原因,逆作区域的框架梁配筋也往往较正常使用区域的框架梁大许多,梁钢筋在直径加大的同时布置得也更加密集。针对该情况,采用了如下的节点处理原则:
①框架梁钢筋必须按设计要求通长布置或锚入支座,严禁在钢格构柱处直接切断。
②尽量让框架梁钢筋从格构柱侧面绕过格构柱,在相交节点处可适当对框架梁作加腋处理。
③当框架梁钢筋因太密集而不能直接绕过格构柱时,可与设计协商,在作适当的补强加固措施后,对格构柱角钢作开孔处理供钢筋穿过。
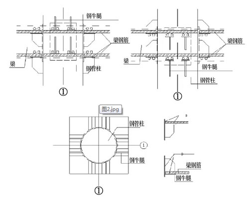
兴业大厦工程位于黄浦区183#地块,占地面积7856.8m2,主楼部分十九层,高度为82.5m,地下三层,埋深14.00m。地上部分总建筑面积55783m2,地下部分总建筑面积18889m2。主体结构为钢筋砼框架剪力墙体系,大楼地下部分采用全逆作法施工,柱为钢管砼柱,底板浇筑前为一柱一桩。围护采用地下连续墙(兼作地下室外墙即二墙合一)。逆作法阶段结构受力为支承桩,主要是指一柱(上部φ609钢管砼柱)一桩(下部φ900钻孔灌注桩),共72根。对于钢管柱与梁的节点部位的处理为:钢管柱节点处通过钢牛腿连接钢筋。由一个“I”字型牛腿改为上下二个“T”字型牛腿。8根梁钢筋焊接在钢牛腿上,其余从钢管周围穿过,见图2。
图2 兴业大厦中间支撑柱与梁的相交节点
长峰商城位于长宁区地铁2号线中山公园站即长宁路、汇川路、凯旋路合围处。主体结构为一幢10层裙楼和60层(框-剪结构)主楼组成。地下四层单层面积22000m2,最大开挖深度达24m,且周边紧邻地铁2号线(最近处距离仅1.9m)和明珠轻轨线。裙楼采用框架结构,主楼采用核心筒体结构,38层以下采用Υ550×16、Υ500×12、Υ400×12圆钢管型劲性柱结构,基础形式均采用筏式基础。长峰商城基坑深度分别为主楼19.55m(4000mm厚底板处)、20.55m(5000mm厚底板处)、21.80m(6250m厚底板处);裙楼为18.75m、局部电梯井为20.95m。采用钻孔灌注桩桩径850mm、桩深72.50m。地下室外墙采用800mm(非地铁侧)和1000mm(地铁侧)厚两墙合一的地下连续墙作为围护挡土墙,裙楼利用结构梁板、主楼利用结构次梁作为水平支撑,利用Υ550×16的钢管和475×475格构柱的一柱一桩作为逆作竖向承重体系。该工程采用裙楼逆作、主楼顺作,待地下室施工完毕后开始上部结构的施工,主楼采取的是以结构次梁为支撑的板带撑支撑形式。该工程即采用了单柱双梁钢管砼组合结构的中间支撑柱与梁的结合节点,其具体做法为:
(1)抗剪设计:抗剪设计主要是在钢管柱上焊接2Υ22抗剪筋。在加工钢管柱阶段,按照结构梁柱节点标高,工厂焊接剪力环筋及锚固筋。锚固筋先直焊,二头点焊,等施工时弯折90°,满足钢管柱成孔工艺要求。详见图3。
图3 长峰商城中间支撑柱与梁的相交节点图
(2)抗弯矩设计:抗弯矩设计主要是将结构单梁设计成双梁。将原来设计600*800的梁改成二根300*750的梁,紧靠Υ550钢管侧边通过,保证梁负弯矩钢筋在节点处贯通。在钢管工厂加工阶段已完成焊接的锚固筋弯折90锚入梁内,加强梁与钢管的连接强度。该工艺操作方便、安全可靠,节点质量易于受控,一般工人稍加培训即可完成操作,并可提高操作环境安全度、降低成本、加快施工进度。
3 地墙与梁板节点的设计与施工
地下室楼盖是地下连续墙的可靠支撑,结构设计中楼盖梁与地下连续墙多按固结考虑,因此该节点可靠性十分重要,必须设法确保梁端受力钢筋的锚固或连接、梁断面的抗弯和抗剪强度等设计要求。地墙与梁板的连接节点形式通常有预埋连接钢筋法、预埋连接钢板法、齿形连接接头法、锥螺纹钢筋连接接头法等几种。即:分别在施工地墙时预埋连接钢筋并加以弯折、预埋与墙内受力钢筋焊接的钢板、固定带剪力槽的钢板和预埋连接钢筋以及在地下连续墙内侧面处设锥螺纹钢筋连接接头,然后在施工楼盖梁板时将梁板内受力钢筋与这些预埋件连接。
预埋连接钢筋法构造简单、施工方便但对直径较大的钢筋扳直困难且如果扳出的连接钢筋不直,会使连接困难并产生初始应力。预埋连接钢板法施工方便、接头受力性能较好但对电焊质量要求高、现场焊接量大、施工进度慢。齿形连接接头法接头抗剪性能、抗弯性能良好但预埋要求高、施工难度大、现场焊接工作量较大。锥螺纹钢筋连接接头法施工速度快、施工简便且不受气候影响但定位要求较高、需采取固定措施。
在长峰商城工程中,地下B1、B2、B3层采用300×800的周边梁与地墙连接,地墙预留Υ12@200双排筋,待梁板施工时候剥出钢筋,弯起焊接成边梁封闭箍筋,具体详见图4。
图4 长峰商城地墙与梁板节点图
兴业大厦工程中,地墙与地下结构梁板的连接也是采用这种方法:地下连续墙两墙合一,在内侧500mm处砌筑240厚内衬墙,内设排水沟。地下室连续墙在每层标高部位预埋圆钢,施工此层楼板时,将圆钢弯直,四周设置一道圈梁,楼层梁板通过圈梁与连续墙连接,详见图5。
图5 兴业大厦地墙与梁板节点图
由由广场工程中,在框架梁边跨处设计了一道围护边梁,围护边梁与外墙之间尚有2m~4m的距离。逆作施工阶段,围护边梁通过H400型钢支撑与各道围檩相连接以传递水平支撑力,相应的框架梁则在围护边梁处预留通长插筋。逆作施工结束并转向顺作后,首先在H400型钢支撑上焊接止水钢板,以保证地下水在基坑换撑、回填后不会通过型钢与外墙的交界面渗入室内;随后即可开始框架梁、外墙、暗柱钢筋的接驳、绑扎工作。由于框架梁处一般都有H400型钢水平支撑存在,因此,当框架梁截面小于型钢截面时,可在征得设计许可的前提下,对型钢翼缘作部分割除处理,最终使框架梁能包覆住型钢支撑;此外,外墙钢筋及暗柱钢筋也常需穿越型钢支撑,同样可在征得设计许可的前提下,对型钢翼缘和腹板作适当开孔处理以方便竖向钢筋穿过,见图6。
图6 由由国际广场边跨框架与地下室外墙连接节点示意图
4 地墙与底板节点的设计与施工
地下连续墙与地下室底板的连接节点需要满足两个要求:
①使地下室底板与地下连续墙连成整体,与设计假定的刚性节点一致。
②使地下室底板与地下连续墙连接紧密,达到防水的要求。通常为保证连接质量,应沿地下连续墙四周将地下室底板进行加强处理,加配一些钢筋。在底板与地下连续墙接触处设止水条,增强防水能力。有时可在连接处设剪力键增强抗剪能力。当排桩支护作为围护结构时,可将主体结构的底板和楼板插入桩体内。
长峰商城工程中,底板与地墙的连接节点采用在大底板位置处在地墙内预埋接驳器连接,具体做法见图7。
图7 长峰商城底板与地墙连接节点图
在兴业大厦工程中,底板与地墙的连接节点采用在底板标高处,地下连续墙预埋直螺纹接头,底板钢筋通过直螺纹接头与地下连续墙连接,具体做法见图8。
图8 兴业大厦底板与地墙连接节点图
而在由由国际广场工程中,由于采用钻孔灌注桩排桩作为外围护,考虑底板和排桩的连接并同时考虑防水要求,采用素砼传力带连接,其连接节点见图9。
图9 由由国际广场底板与排桩连接节点图
5 结语
本文中这些应用于高层建筑深基础逆作法施工中的节点是在工程实践中不断发展完善的,目的是为了建立逆作法施工中各种受力结构间的合理连接,既要满足节点受力,又要与目前“逆作法”施工工艺相配套。这些节点形式的产生从工艺上保证了节点施工质量,为逆作法的发展和应用奠定了基础。
转自《岩土工程》