基础工程网讯 近日,我们从常州市宏业基础工程有限公司(以下简称“宏业基础”)获悉,宏业基础秉承着为各地经济建设不懈努力,为提高我国专业施工技术水平不懈创新的精神,在这个充满挑战与机遇的时代连创佳绩,先后荣获“一种具有移动结构的旋挖钻机动力头及其钻进方法”与“一种具有排渣功能的旋挖钻机针管式挤压钻头”两项专利,让旋挖钻机的性能得到了进一步的提升!



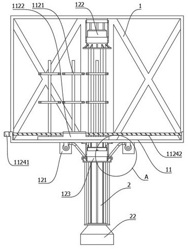
首先是他们设计的一种具有移动结构的旋挖钻机动力头及其钻进方法。这个创新设备采用了支撑架、驱动装置和多个钻杆组成的结构,通过位移机构、压装机构和旋转机构的精确设计,使得钻杆之间的对接更加容易,操作更加简单。不仅如此,它还能保证钻杆之间的动力传递稳定,避免了加压台啮合位置不准确导致钻杆损坏的问题。而且,这种动力头的钻杆不是多层伸缩的,非常方便进行保养,提高了钻杆的使用寿命。更重要的是,钻孔的深度只受限于钻杆的数量,不再受到其他限制,给我们带来了更大的施工空间!

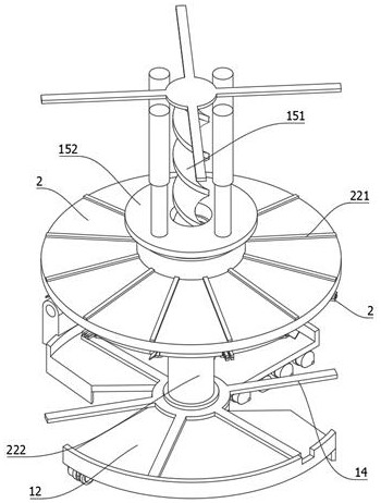
其次,一起了解下一种具有排渣功能的旋挖钻机针管式挤压钻头。这个钻头采用了创新的设计,包括钻筒和位于钻筒的顶部的切削盘,钻筒的内部设置有驱动机构、挤压盘和清洁机构。驱动机构带动挤压盘在带动泥土沿钻头轴线方向滑动的同时,还能产生转动,彻底解决了泥土排出不畅的问题。与此同时,挤压盘还带动了连接的清洁机构的移动,实现了对钻筒内壁的彻底清洁,大幅度提高了工作效率。这不仅减轻了工作人员的负担,也保证了钻孔内部的清洁,让后续的旋挖作业更加顺利快捷!

常州市宏业基础工程有限公司凭借这两项专利的获得,再次彰显了自己在技术创新方面的领先地位。这不仅为该公司带来了无限商机,也为国内旋挖钻机行业注入了新的活力。相信未来以他们的努力和创新精神将不断推动企业的发展,让他们的技术在深基础领域得到更广泛的应用。